Photomicrosensor with Slim Cable (Non-modulated)
last update: April 7, 2025
| Type | Standard | L-shaped | T-shaped |
|---|---|---|---|
| NPN models | EE-SX770/EE-SX870
EE-SX770A/EE-SX870A |
EE-SX771/EE-SX871
EE-SX771A/EE-SX871A |
EE-SX772/EE-SX872
EE-SX772A/EE-SX872A |
| PNP models | EE-SX770P/EE-SX870P
EE-SX770R/EE-SX870R |
EE-SX771P/EE-SX871P
EE-SX771R/EE-SX871R |
EE-SX772P/EE-SX872P
EE-SX772R/EE-SX872R |
| Sensing distance | 5 mm (slot width) | ||
| Sensing object | Opaque: 2 × 0.8 mm min. | ||
| Differential distance | 0.025 mm | ||
| Light source | GaAs infrared LED with a peak wavelength of 940 nm | ||
| Indicator | Light indicator (red) (turns ON when light is interrupted for models with A or R suffix) | ||
| Supply voltage | 5 to 24 VDC ±10%, ripple (p-p): 10% max. | ||
| Current consumption | 12 mA max. | ||
| Control output | NPN open collector:
5 to 24 VDC, 100 mA max. 100 mA load current with a residual voltage of 0.8 V max. 40 mA load current with a residual voltage of 0.4 V max. OFF current (leakage current): 0.5 mA max. PNP open collector: 5 to 24 VDC, 50 mA max. 50 mA load current with a residual voltage of 1.3 V max. OFF current (leakage current): 0.5 mA max. |
||
| Protection circuits | Load short-circuit protection | ||
| Response time | Light-ON: 20 μs max, Dark-ON: 100 μs max. | ||
| Maximum response
frequency *1 |
3 kHz max. | ||
| Ambient illumination | 1,000 lx max. with fluorescent light on the surface of the receiver | ||
| Ambient temperature range | Operating: - 25 to +55 °C
Storage: - 30 to +80 °C (with no icing) |
||
| Ambient humidity range | Operating: 5% to 85%
Storage: 5% to 95% (with no condensation) |
||
| Vibration resistance | Destruction: 10 to 2,000 Hz (peak acceleration: 100 m/s2)
1.5-mm double amplitude for 2 h (4-min periods) each in X, Y, and Z directions |
||
| Shock resistance | Destruction: 500 m/s2 for 3 times each in X, Y, and Z directions | ||
| Degree of protection *2 | IEC60529 IP64 | ||
| Connecting method | Pre-wired (standard cable length: 2 m) | ||
| Weight (packaged) | Approx. 20 g | ||
| Material | Case: Polybutylene phthalate (PBT) | ||
| Conformity standards | UL Certification, CE Marking, ISO13849-1 (PLc, cat1) *2 | ||
| MTTFd (Year) | NPN models: 837
PNP models: 832 |
||
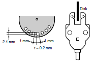
*1. The response frequency was measured by detecting the following rotating disk.
*2. Degree of protection IP64 when conforming to ISO13849-1 (PLc, cat1). Conforms to September 2023.
Refer to the Instruction Sheet and Information for ISO13849-1 Compliance for conformance to ISO 13849-1.
last update: April 7, 2025